返回上一页 返回首页 搜索 更多选择

二手车商出售调表问题车未进行告知

投诉编号:【1599119】 投诉时间:2026-02-23 19:26 投诉品牌:上汽大众 投诉车系:凌渡 投诉车型:2021款 改款 280TSI DSG 舒适版

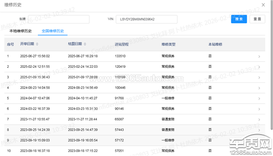
我在2026年1月26日在新疆买了一辆二手凌渡,当天全付款当天提车,显示公里数是7.2万公里,车商说的也是7.2万公里用车过程中去4s店保养的时候他们发现了这车严重调表,调了7万多公里,真实里程表是14万多公里立马联系车商,他不认,调解无果,车商说想干嘛就干嘛,不是我调的。

车质网已将您的投诉转给生产或者销售企业,我们将会对此投诉继续跟踪,请您持续关注!

最新评论
违法和不良信息举报:
010-65993545-8019  jubao@12365auto.com
车质网版权所有 京ICP备15019238号