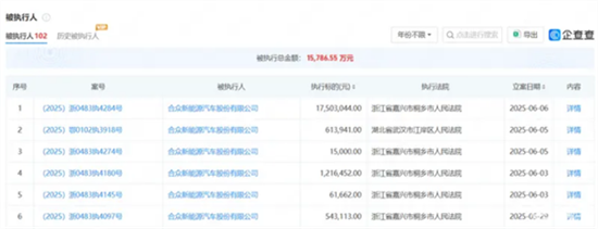
近日,企查查法律诉讼信息显示,哪吒汽车关联公司合众新能源汽车股份有限公司新增一则被执行人信息,执行标的为1750万余元,执行法院为桐乡市人民法院。
据现有信息,该公司现存100余条被执行人信息,被执行总金额已超1.5亿余元。

今年6月,因违反劳动保障监察条例被桐乡市人力资源和社会保障局处以3.3万元罚款。
处罚信息显示,该公司于2025年3月24日和4月9日在浙江省嘉兴市桐乡市同仁路988号实施了“经责令改正拒不改正的行为”,违反了《劳动保障监察条例》第六条的规定。
此外,该公司还存在多条限制消费令、股权冻结信息。
当前,哪吒汽车正处于“生死时速”的关键期,能否在2025年内实现现金流回正、海外市场能否形成有效支撑,目前尚未可知。

